Register Guidelines E-Books Search Today's Posts Mark Forums Read

Go Back   MobileRead Forums > E-Book General > News

Notices

Reply
 
Thread Tools Search this Thread
Old 09-04-2013, 09:54 AM   #1
Alexander Turcic
Fully Converged
Alexander Turcic ought to be getting tired of karma fortunes by now.Alexander Turcic ought to be getting tired of karma fortunes by now.Alexander Turcic ought to be getting tired of karma fortunes by now.Alexander Turcic ought to be getting tired of karma fortunes by now.Alexander Turcic ought to be getting tired of karma fortunes by now.Alexander Turcic ought to be getting tired of karma fortunes by now.Alexander Turcic ought to be getting tired of karma fortunes by now.Alexander Turcic ought to be getting tired of karma fortunes by now.Alexander Turcic ought to be getting tired of karma fortunes by now.Alexander Turcic ought to be getting tired of karma fortunes by now.Alexander Turcic ought to be getting tired of karma fortunes by now.
 
Alexander Turcic's Avatar
 
Posts: 18,175
Karma: 14021202
Join Date: Oct 2002
Location: Switzerland
Device: Too many to count here.
Google seeks patent to add "triggered sounds" to e-books

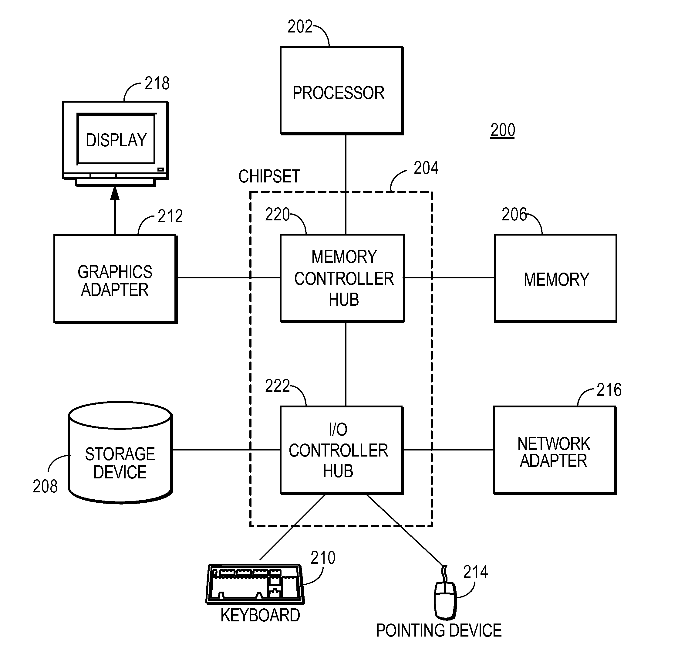
Next time you read Homer's Odyssey, don't be embarrassed if your e-reader suddenly outputs seductive songs, in particular when you're somewhere in the middle of the book where Odysseus approaches the island of the lovely Sirens. Google has applied to patent a system that plays sounds that are associated with a user's reading location within an e-book.

Quote:
The above and other issues are addressed by a computer-implemented method, a non-transitory computer-readable storage medium and a computer system for triggering sounds in an eBook. An embodiment of the method includes receiving trigger point information from a client. An eBook is analyzed to determine trigger point information for the eBook. The trigger point information includes information identifying a location of a trigger point in the eBook. The trigger point information also includes sound information indicating a sound to play at the trigger point. The determined trigger point information is transmitted to the client in response to the request for trigger point information. The client is configured to track a user's reading location in the eBook and play the sound indicated by the sound information responsive to the user reading the eBook at the location of the trigger point.
In one variety of the implementation it's the responsibility of a remote "sound server" with a "sound database", which is connected via WiFi or 3G to the reading device, providing sounds in response to specific trigger points. In another implementation, trigger points don't need to be specified individually in every book; rather, a book would receive a unique identifier and a client could access a remote trigger point database to fetch the related sound information.

The concept is simple enough that we wouldn't be surprised to find it in future reading apps.
Attached Thumbnails
Click image for larger version

Name:	US20130209981A1-20130815-D00000.png
Views:	997
Size:	23.2 KB
ID:	110387   Click image for larger version

Name:	US20130209981A1-20130815-D00001.png
Views:	978
Size:	12.5 KB
ID:	110388   Click image for larger version

Name:	US20130209981A1-20130815-D00002.png
Views:	971
Size:	24.7 KB
ID:	110389   Click image for larger version

Name:	US20130209981A1-20130815-D00003.png
Views:	959
Size:	11.0 KB
ID:	110390   Click image for larger version

Name:	US20130209981A1-20130815-D00004.png
Views:	1020
Size:	6.6 KB
ID:	110391   Click image for larger version

Name:	US20130209981A1-20130815-D00005.png
Views:	983
Size:	9.4 KB
ID:	110392   Click image for larger version

Name:	US20130209981A1-20130815-D00006.png
Views:	991
Size:	10.2 KB
ID:	110393  
Alexander Turcic is offline   Reply With Quote
Old 09-04-2013, 09:58 AM   #2
DrNefario
Wizard
DrNefario ought to be getting tired of karma fortunes by now.DrNefario ought to be getting tired of karma fortunes by now.DrNefario ought to be getting tired of karma fortunes by now.DrNefario ought to be getting tired of karma fortunes by now.DrNefario ought to be getting tired of karma fortunes by now.DrNefario ought to be getting tired of karma fortunes by now.DrNefario ought to be getting tired of karma fortunes by now.DrNefario ought to be getting tired of karma fortunes by now.DrNefario ought to be getting tired of karma fortunes by now.DrNefario ought to be getting tired of karma fortunes by now.DrNefario ought to be getting tired of karma fortunes by now.
 
DrNefario's Avatar
 
Posts: 2,228
Karma: 12029046
Join Date: Jan 2012
Location: UK
Device: Kindle, Kobo Touch, Nook SimpleTouch
Well, let's hope they get the patent and never let anyone use it.
DrNefario is offline   Reply With Quote
Old 09-04-2013, 10:00 AM   #3
Apache
Readaholic
Apache ought to be getting tired of karma fortunes by now.Apache ought to be getting tired of karma fortunes by now.Apache ought to be getting tired of karma fortunes by now.Apache ought to be getting tired of karma fortunes by now.Apache ought to be getting tired of karma fortunes by now.Apache ought to be getting tired of karma fortunes by now.Apache ought to be getting tired of karma fortunes by now.Apache ought to be getting tired of karma fortunes by now.Apache ought to be getting tired of karma fortunes by now.Apache ought to be getting tired of karma fortunes by now.Apache ought to be getting tired of karma fortunes by now.
 
Apache's Avatar
 
Posts: 5,306
Karma: 90981752
Join Date: Sep 2011
Location: South Georgia
Device: Surface Pro 6 / Galaxy Tab A 8"
Quote:
Originally Posted by DrNefario View Post
Well, let's hope they get the patent and never let anyone use it.
This. If I want sounds then I can watch a movie. I am perfectly capable of imagining my own sounds thank you.
Apache
Apache is offline   Reply With Quote
Old 09-04-2013, 10:10 AM   #4
tubemonkey
monkey on the fringe
tubemonkey ought to be getting tired of karma fortunes by now.tubemonkey ought to be getting tired of karma fortunes by now.tubemonkey ought to be getting tired of karma fortunes by now.tubemonkey ought to be getting tired of karma fortunes by now.tubemonkey ought to be getting tired of karma fortunes by now.tubemonkey ought to be getting tired of karma fortunes by now.tubemonkey ought to be getting tired of karma fortunes by now.tubemonkey ought to be getting tired of karma fortunes by now.tubemonkey ought to be getting tired of karma fortunes by now.tubemonkey ought to be getting tired of karma fortunes by now.tubemonkey ought to be getting tired of karma fortunes by now.
 
tubemonkey's Avatar
 
Posts: 45,871
Karma: 158733736
Join Date: May 2010
Location: Seattle Metro
Device: Moto E6, Echo Show
I can see widespread adoption of this in the romantic genre
tubemonkey is offline   Reply With Quote
Old 09-04-2013, 10:12 AM   #5
cortman
Zealot
cortman ought to be getting tired of karma fortunes by now.cortman ought to be getting tired of karma fortunes by now.cortman ought to be getting tired of karma fortunes by now.cortman ought to be getting tired of karma fortunes by now.cortman ought to be getting tired of karma fortunes by now.cortman ought to be getting tired of karma fortunes by now.cortman ought to be getting tired of karma fortunes by now.cortman ought to be getting tired of karma fortunes by now.cortman ought to be getting tired of karma fortunes by now.cortman ought to be getting tired of karma fortunes by now.cortman ought to be getting tired of karma fortunes by now.
 
Posts: 138
Karma: 1025658
Join Date: Jun 2013
Device: Kobo Glo, Kindle 3 3g, Nook HD+, Nexus 4 (Mantano)
Quote:
Originally Posted by DrNefario View Post
Well, let's hope they get the patent and never let anyone use it.
lol, +1 to this. I prefer not to be startled by weird sounds.
cortman is offline   Reply With Quote
Old 09-04-2013, 10:21 AM   #6
TimW
Wizard
TimW ought to be getting tired of karma fortunes by now.TimW ought to be getting tired of karma fortunes by now.TimW ought to be getting tired of karma fortunes by now.TimW ought to be getting tired of karma fortunes by now.TimW ought to be getting tired of karma fortunes by now.TimW ought to be getting tired of karma fortunes by now.TimW ought to be getting tired of karma fortunes by now.TimW ought to be getting tired of karma fortunes by now.TimW ought to be getting tired of karma fortunes by now.TimW ought to be getting tired of karma fortunes by now.TimW ought to be getting tired of karma fortunes by now.
 
TimW's Avatar
 
Posts: 1,022
Karma: 6824104
Join Date: May 2011
Location: Southeastern Kentucky
Device: KK3G, KPW1, Sony PRST1, Sony PRS350, iPod Touch 5G
Quote:
Originally Posted by tubemonkey View Post
I can see widespread adoption of this in the romantic genre
What? The cracking of whips in the BDSM variety?
TimW is offline   Reply With Quote
Old 09-04-2013, 10:43 AM   #7
poohbear_nc
Bah! Humbug!
poohbear_nc ought to be getting tired of karma fortunes by now.poohbear_nc ought to be getting tired of karma fortunes by now.poohbear_nc ought to be getting tired of karma fortunes by now.poohbear_nc ought to be getting tired of karma fortunes by now.poohbear_nc ought to be getting tired of karma fortunes by now.poohbear_nc ought to be getting tired of karma fortunes by now.poohbear_nc ought to be getting tired of karma fortunes by now.poohbear_nc ought to be getting tired of karma fortunes by now.poohbear_nc ought to be getting tired of karma fortunes by now.poohbear_nc ought to be getting tired of karma fortunes by now.poohbear_nc ought to be getting tired of karma fortunes by now.
 
poohbear_nc's Avatar
 
Posts: 64,312
Karma: 135242149
Join Date: Feb 2009
Location: Durham, NC
Device: Every Kindle Ever Made & To Be Made!
I can predict the upcoming news stories: a subway rider reading "The Godfather" - triggers the sounds of gunfire -- rider is shot by subway police who describe a person holding a dark object in his hands that was firing shots.
poohbear_nc is offline   Reply With Quote
Old 09-04-2013, 10:52 AM   #8
owly
Guru
owly ought to be getting tired of karma fortunes by now.owly ought to be getting tired of karma fortunes by now.owly ought to be getting tired of karma fortunes by now.owly ought to be getting tired of karma fortunes by now.owly ought to be getting tired of karma fortunes by now.owly ought to be getting tired of karma fortunes by now.owly ought to be getting tired of karma fortunes by now.owly ought to be getting tired of karma fortunes by now.owly ought to be getting tired of karma fortunes by now.owly ought to be getting tired of karma fortunes by now.owly ought to be getting tired of karma fortunes by now.
 
owly's Avatar
 
Posts: 729
Karma: 3822612
Join Date: Sep 2009
Location: Sweden
Device: Paperwhite 2, Kobo Aura H2O
This could actually be fun if used wisely. I remember listening to an Jane Austen audiobook that played a little period music between chapters. It really enhanced the experiance.
owly is offline   Reply With Quote
Old 09-04-2013, 11:06 AM   #9
Baumi
Connoisseur
Baumi has a complete set of Star Wars action figures.Baumi has a complete set of Star Wars action figures.Baumi has a complete set of Star Wars action figures.
 
Posts: 56
Karma: 290
Join Date: Oct 2009
Device: Kindle 3, Kindle DXG, Cybook G3
I was surprised at how well the sounds worked for "Operation Ajax" on the iPad – but that's a comic, of course, which is a different reading experience anyway.
Baumi is offline   Reply With Quote
Old 09-04-2013, 11:15 AM   #10
ApK
Award-Winning Participant
ApK ought to be getting tired of karma fortunes by now.ApK ought to be getting tired of karma fortunes by now.ApK ought to be getting tired of karma fortunes by now.ApK ought to be getting tired of karma fortunes by now.ApK ought to be getting tired of karma fortunes by now.ApK ought to be getting tired of karma fortunes by now.ApK ought to be getting tired of karma fortunes by now.ApK ought to be getting tired of karma fortunes by now.ApK ought to be getting tired of karma fortunes by now.ApK ought to be getting tired of karma fortunes by now.ApK ought to be getting tired of karma fortunes by now.
 
Posts: 7,402
Karma: 69116640
Join Date: Feb 2010
Location: NJ, USA
Device: Kindle
Quote:
Originally Posted by DrNefario View Post
Well, let's hope they get the patent and never let anyone use it.
Quote:
Originally Posted by Apache View Post
This. If I want sounds then I can watch a movie. I am perfectly capable of imagining my own sounds thank you.
Apache
Quote:
Originally Posted by cortman View Post
lol, +1 to this. I prefer not to be startled by weird sounds.
Wow, what a bunch of censorship-encouraging, knowledge-suppressing little dictators we have here. "I don't like it so no one should have it" eh?

How about an "off" option instead.

Or shall we burn the books that teach people how to do it as well as suppressing the IP?
ApK is offline   Reply With Quote
Old 09-04-2013, 11:26 AM   #11
tubemonkey
monkey on the fringe
tubemonkey ought to be getting tired of karma fortunes by now.tubemonkey ought to be getting tired of karma fortunes by now.tubemonkey ought to be getting tired of karma fortunes by now.tubemonkey ought to be getting tired of karma fortunes by now.tubemonkey ought to be getting tired of karma fortunes by now.tubemonkey ought to be getting tired of karma fortunes by now.tubemonkey ought to be getting tired of karma fortunes by now.tubemonkey ought to be getting tired of karma fortunes by now.tubemonkey ought to be getting tired of karma fortunes by now.tubemonkey ought to be getting tired of karma fortunes by now.tubemonkey ought to be getting tired of karma fortunes by now.
 
tubemonkey's Avatar
 
Posts: 45,871
Karma: 158733736
Join Date: May 2010
Location: Seattle Metro
Device: Moto E6, Echo Show
Quote:
Originally Posted by ApK View Post
Or shall we burn the books that teach people how to do it as well as suppressing the IP?
I love the smell of burning books in the morning. It smells like... victory
tubemonkey is offline   Reply With Quote
Old 09-04-2013, 11:31 AM   #12
meeera
Grand Sorcerer
meeera ought to be getting tired of karma fortunes by now.meeera ought to be getting tired of karma fortunes by now.meeera ought to be getting tired of karma fortunes by now.meeera ought to be getting tired of karma fortunes by now.meeera ought to be getting tired of karma fortunes by now.meeera ought to be getting tired of karma fortunes by now.meeera ought to be getting tired of karma fortunes by now.meeera ought to be getting tired of karma fortunes by now.meeera ought to be getting tired of karma fortunes by now.meeera ought to be getting tired of karma fortunes by now.meeera ought to be getting tired of karma fortunes by now.
 
meeera's Avatar
 
Posts: 5,869
Karma: 68407974
Join Date: Dec 2011
Location: Australia
Device: Kobo Libra 2, iPadMini4, iPad4, MBP; support other Kobo/Kindles
On the one hand, the industry is trying to develop a method to push sounds to folks who, on the whole, don't want this. On the other, TTS has all but disappeared, and the industry is fighting tooth and nail to avoid having to put sound-based accessible features on their readers.

Yeah.
meeera is offline   Reply With Quote
Old 09-04-2013, 11:38 AM   #13
steven522
binomial: homo legentem
steven522 ought to be getting tired of karma fortunes by now.steven522 ought to be getting tired of karma fortunes by now.steven522 ought to be getting tired of karma fortunes by now.steven522 ought to be getting tired of karma fortunes by now.steven522 ought to be getting tired of karma fortunes by now.steven522 ought to be getting tired of karma fortunes by now.steven522 ought to be getting tired of karma fortunes by now.steven522 ought to be getting tired of karma fortunes by now.steven522 ought to be getting tired of karma fortunes by now.steven522 ought to be getting tired of karma fortunes by now.steven522 ought to be getting tired of karma fortunes by now.
 
steven522's Avatar
 
Posts: 1,061
Karma: 25222222
Join Date: Feb 2010
Location: Alabama, USA
Device: iriver Story HD; Archos 80 G9
Quote:
Originally Posted by owly View Post
This could actually be fun if used wisely. I remember listening to an Jane Austen audiobook that played a little period music between chapters. It really enhanced the experiance.
Listening to Audiobooks, yes. Any extra "low volume" background music and/or sound effects that do not drown out the narrator do help you get into the story. However, this is an already auditory experience.

When I'm reading, I really do not want any noise going on. Sometimes even a loud bird call outside can throw me off when I'm really into a book.

I hope we at least have the option of disabling these if they ever do come out.
steven522 is offline   Reply With Quote
Old 09-04-2013, 11:39 AM   #14
Pablo
Guru
Pablo ought to be getting tired of karma fortunes by now.Pablo ought to be getting tired of karma fortunes by now.Pablo ought to be getting tired of karma fortunes by now.Pablo ought to be getting tired of karma fortunes by now.Pablo ought to be getting tired of karma fortunes by now.Pablo ought to be getting tired of karma fortunes by now.Pablo ought to be getting tired of karma fortunes by now.Pablo ought to be getting tired of karma fortunes by now.Pablo ought to be getting tired of karma fortunes by now.Pablo ought to be getting tired of karma fortunes by now.Pablo ought to be getting tired of karma fortunes by now.
 
Pablo's Avatar
 
Posts: 974
Karma: 4999999
Join Date: Mar 2009
Location: Rosario, Argentina
Device: SONY PRS-T2, Kindle Paperwhite 11th gen
Yet another silly, useless patent.

And why stop at "triggered sounds"? Why not "triggered pictures", "triggered videos", "triggered ads"?

Some people just don't understand the "book" concept.
Pablo is offline   Reply With Quote
Old 09-04-2013, 11:45 AM   #15
HomeInMyShoes
Grand Sorcerer
HomeInMyShoes ought to be getting tired of karma fortunes by now.HomeInMyShoes ought to be getting tired of karma fortunes by now.HomeInMyShoes ought to be getting tired of karma fortunes by now.HomeInMyShoes ought to be getting tired of karma fortunes by now.HomeInMyShoes ought to be getting tired of karma fortunes by now.HomeInMyShoes ought to be getting tired of karma fortunes by now.HomeInMyShoes ought to be getting tired of karma fortunes by now.HomeInMyShoes ought to be getting tired of karma fortunes by now.HomeInMyShoes ought to be getting tired of karma fortunes by now.HomeInMyShoes ought to be getting tired of karma fortunes by now.HomeInMyShoes ought to be getting tired of karma fortunes by now.
 
Posts: 19,226
Karma: 67780237
Join Date: Jul 2011
Device: none
If I set my font size small enough I can probaly get the trigger points to happen way before they should and the sounds would actually be a spoiler to the reading.

I'm filing this under: useless.

I also think this one falls apart when we realize that an eBook (flowing text) is really no different than a webpage and background music has been an integral part of personal vanity pages since the mid 90s.

Last edited by HomeInMyShoes; 09-04-2013 at 11:47 AM.
HomeInMyShoes is offline   Reply With Quote
Reply

Thread Tools Search this Thread
Search this Thread:

Advanced Search

Forum Jump

Similar Threads
Thread Thread Starter Forum Replies Last Post
A warning for Linux users: slow "Add Books", "Unknown" title and Author rolgiati Library Management 8 07-24-2013 05:36 PM
Amazon seeks to throw out Apple "app store" advertising claim JoHunt News 23 09-29-2012 12:40 PM
"Add Books" naming convention peeves louwin Library Management 28 05-22-2012 03:14 AM
Calibre closes after clicking "Add Books" button JeweledSunshine Devices 4 09-25-2011 01:50 PM
[Enhancement suggestion] Folders when save books in "Add Books" function simonbcn Calibre 1 08-30-2009 01:59 PM


All times are GMT -4. The time now is 11:17 PM.


MobileRead.com is a privately owned, operated and funded community.