Register Guidelines E-Books Today's Posts Search

Go Back   MobileRead Forums > E-Book General > News

Notices

Reply
 
Thread Tools Search this Thread
Old 12-29-2016, 05:17 PM   #1
tubemonkey
monkey on the fringe
tubemonkey ought to be getting tired of karma fortunes by now.tubemonkey ought to be getting tired of karma fortunes by now.tubemonkey ought to be getting tired of karma fortunes by now.tubemonkey ought to be getting tired of karma fortunes by now.tubemonkey ought to be getting tired of karma fortunes by now.tubemonkey ought to be getting tired of karma fortunes by now.tubemonkey ought to be getting tired of karma fortunes by now.tubemonkey ought to be getting tired of karma fortunes by now.tubemonkey ought to be getting tired of karma fortunes by now.tubemonkey ought to be getting tired of karma fortunes by now.tubemonkey ought to be getting tired of karma fortunes by now.
 
tubemonkey's Avatar
 
Posts: 45,896
Karma: 158765932
Join Date: May 2010
Location: Seattle Metro
Device: Moto E6, Echo Show
Amazon Drones, Meet Your Mothership

Amazon drones, meet your mothership

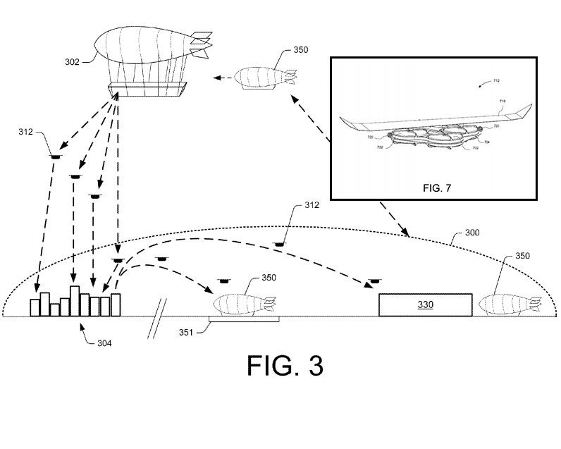
Storing digital content in the cloud isn't enough for Amazon. Now they want to store physical goods in the cloud - literally. A floating warehouse full of Kindles if you will.

Quote:
It's a bird, it's a plane, it's -- Amazon. The online retailer has its head in the clouds with plans for an airship hosting a swarm of delivery drones.
Quote:
This isn't what I imagined from Amazon's cloud-based technology.

In recently discovered patent images, Amazon drafted a plan to have an airship 45,000 feet above the Earth, storing a fleet of drones and packages to deliver. Amazon said these unmanned aerial vehicles would take "little to no power" to transport goods to consumers' doorsteps if they are dropping down and gliding instead of lifting off and taking flight.

Amazon has been pushing to make drone deliveries mainstream since it announced Prime Air in 2013. It made its first drone drop-off on December 15, in a trial run in the UK. The company has filed multiple patents -- including the airship warehouse -- for drones since announcing its plans. But they might all just stay that way, considering Amazon's complaints about the Federal Aviation Administration's snail-like pace for UAV regulations.
Attached Thumbnails
Click image for larger version

Name:	amazondrone.jpg
Views:	334
Size:	40.2 KB
ID:	153846  
tubemonkey is offline   Reply With Quote
Old 12-29-2016, 06:21 PM   #2
Breathinlady
Zealot
Breathinlady ought to be getting tired of karma fortunes by now.Breathinlady ought to be getting tired of karma fortunes by now.Breathinlady ought to be getting tired of karma fortunes by now.Breathinlady ought to be getting tired of karma fortunes by now.Breathinlady ought to be getting tired of karma fortunes by now.Breathinlady ought to be getting tired of karma fortunes by now.Breathinlady ought to be getting tired of karma fortunes by now.Breathinlady ought to be getting tired of karma fortunes by now.Breathinlady ought to be getting tired of karma fortunes by now.Breathinlady ought to be getting tired of karma fortunes by now.Breathinlady ought to be getting tired of karma fortunes by now.
 
Posts: 144
Karma: 2968914
Join Date: Dec 2012
Location: Indiana
Device: K3, Kindle Fire HD,HD6,10HD,2 Fire Phones iPod touch, iPad3, Nexus 10
Quote:
Originally Posted by tubemonkey View Post
Amazon drones, meet your mothership

Storing digital content in the cloud isn't enough for Amazon. Now they want to store physical goods in the cloud - literally. A floating warehouse full of Kindles if you will.
We are getting ready for New Years Not April Fools!
Breathinlady is offline   Reply With Quote
Advert
Old 12-30-2016, 08:06 AM   #3
fjtorres
Grand Sorcerer
fjtorres ought to be getting tired of karma fortunes by now.fjtorres ought to be getting tired of karma fortunes by now.fjtorres ought to be getting tired of karma fortunes by now.fjtorres ought to be getting tired of karma fortunes by now.fjtorres ought to be getting tired of karma fortunes by now.fjtorres ought to be getting tired of karma fortunes by now.fjtorres ought to be getting tired of karma fortunes by now.fjtorres ought to be getting tired of karma fortunes by now.fjtorres ought to be getting tired of karma fortunes by now.fjtorres ought to be getting tired of karma fortunes by now.fjtorres ought to be getting tired of karma fortunes by now.
 
Posts: 11,732
Karma: 128354696
Join Date: May 2009
Location: 26 kly from Sgr A*
Device: T100TA,PW2,PRS-T1,KT,FireHD 8.9,K2, PB360,BeBook One,Axim51v,TC1000
Not as crazy as some might think:

https://www.theguardian.com/world/20...d-bedfordshire

https://www.hybridairvehicles.com/aircraft/airlander-50
fjtorres is offline   Reply With Quote
Old 12-30-2016, 10:36 AM   #4
jswinden
Nameless Being
 
Drones delivering packages, cars that drive themselves, blimps that store and distribute packages, human trips to Mars....These all remind me of those articles about cool things I read in my dad's Popular Mechanics magazines in the 1960s. They were packed with imaginative ideas and concepts. But the reality is that about 99% of those predicted future devices and concepts still haven't materialized half a century later. Fun to read about for sure. Imaginative too. And no doubt when people imagine things, even if they never can make them work, those imaginations often lead to other things that do work. But my guess is we might not see drone delivery systems based in autonomous blimps during my lifetime, even if I live another 30 years.
  Reply With Quote
Old 12-30-2016, 10:41 AM   #5
DiapDealer
Grand Sorcerer
DiapDealer ought to be getting tired of karma fortunes by now.DiapDealer ought to be getting tired of karma fortunes by now.DiapDealer ought to be getting tired of karma fortunes by now.DiapDealer ought to be getting tired of karma fortunes by now.DiapDealer ought to be getting tired of karma fortunes by now.DiapDealer ought to be getting tired of karma fortunes by now.DiapDealer ought to be getting tired of karma fortunes by now.DiapDealer ought to be getting tired of karma fortunes by now.DiapDealer ought to be getting tired of karma fortunes by now.DiapDealer ought to be getting tired of karma fortunes by now.DiapDealer ought to be getting tired of karma fortunes by now.
 
DiapDealer's Avatar
 
Posts: 28,915
Karma: 207182180
Join Date: Jan 2010
Device: Nexus 7, Kindle Fire HD
But when it DOES happen, Amazon will be ready, and everyone else will be playing catch-up (and griping about Amazon's unfair advantage in drone-delivery infrastructure/logistics).
DiapDealer is offline   Reply With Quote
Advert
Old 12-30-2016, 11:16 AM   #6
ZodWallop
Gentleman and scholar
ZodWallop ought to be getting tired of karma fortunes by now.ZodWallop ought to be getting tired of karma fortunes by now.ZodWallop ought to be getting tired of karma fortunes by now.ZodWallop ought to be getting tired of karma fortunes by now.ZodWallop ought to be getting tired of karma fortunes by now.ZodWallop ought to be getting tired of karma fortunes by now.ZodWallop ought to be getting tired of karma fortunes by now.ZodWallop ought to be getting tired of karma fortunes by now.ZodWallop ought to be getting tired of karma fortunes by now.ZodWallop ought to be getting tired of karma fortunes by now.ZodWallop ought to be getting tired of karma fortunes by now.
 
ZodWallop's Avatar
 
Posts: 11,507
Karma: 111164382
Join Date: Jun 2015
Location: Space City, Texas
Device: Clara BW; Nook ST w/Glowlight, Paperwhite 3
Quote:
Originally Posted by jswinden View Post
Drones delivering packages, cars that drive themselves, blimps that store and distribute packages, human trips to Mars....These all remind me of those articles about cool things I read in my dad's Popular Mechanics magazines in the 1960s. They were packed with imaginative ideas and concepts. But the reality is that about 99% of those predicted future devices and concepts still haven't materialized half a century later. Fun to read about for sure. Imaginative too. And no doubt when people imagine things, even if they never can make them work, those imaginations often lead to other things that do work. But my guess is we might not see drone delivery systems based in autonomous blimps during my lifetime, even if I live another 30 years.
Yeah, I feel the same way about Project Loon (balloon based wi-fi). Very Popular Mechanics. I'm even questioning self driving cars, though there are enough people taking it seriously I give it a little more credence.

Maybe I'm a pessimist. I'd love to be wrong. But I think mostly these are a form of PR, building excitement for a brand.
ZodWallop is offline   Reply With Quote
Old 12-30-2016, 12:19 PM   #7
fjtorres
Grand Sorcerer
fjtorres ought to be getting tired of karma fortunes by now.fjtorres ought to be getting tired of karma fortunes by now.fjtorres ought to be getting tired of karma fortunes by now.fjtorres ought to be getting tired of karma fortunes by now.fjtorres ought to be getting tired of karma fortunes by now.fjtorres ought to be getting tired of karma fortunes by now.fjtorres ought to be getting tired of karma fortunes by now.fjtorres ought to be getting tired of karma fortunes by now.fjtorres ought to be getting tired of karma fortunes by now.fjtorres ought to be getting tired of karma fortunes by now.fjtorres ought to be getting tired of karma fortunes by now.
 
Posts: 11,732
Karma: 128354696
Join Date: May 2009
Location: 26 kly from Sgr A*
Device: T100TA,PW2,PRS-T1,KT,FireHD 8.9,K2, PB360,BeBook One,Axim51v,TC1000
Quote:
Originally Posted by ZodWallop View Post
Yeah, I feel the same way about Project Loon (balloon based wi-fi). Very Popular Mechanics. I'm even questioning self driving cars, though there are enough people taking it seriously I give it a little more credence.

Maybe I'm a pessimist. I'd love to be wrong. But I think mostly these are a form of PR, building excitement for a brand.
Brand building is part of it, yes.
Part of it is also due diligence: figuring out ways competitors (present or future) could outflank you and undercut your business. Then, you patent the methodology involved (even if you don't intend to use it) just in case. Well-run tech companies are always on defense, looking for ways a brash startup could cut into their business so they can "head them off at the pass" or buy them out while they're small and affordable.

As for Project Loon the core idea is good but the planned usage (free flying baloons) is off. A more effective approach is to just anchor the balloons to serve as cheap, quickly-deployed WiMax towers.
fjtorres is offline   Reply With Quote
Old 12-30-2016, 02:31 PM   #8
jswinden
Nameless Being
 
I think as far as technologies for self-driving automobiles and autonomous delivery systems, they might be hoping that their research leads to other inventions and discoveries. Look at the space race back in the 1960s. Yes we eventually got to the Moon and back, but there were a lot of benefits from it as a result of the research and development that was needed. A lot of technology that was invented or improved on for space missions lends itself to other fields like medicine, etc. I really doubt autonomous cars will be around very soon, and frankly hope they are not. Idiots who text and drive or in some other way get distracted are dangerous enough. A car doing what programmers told it to will NEVER react as well as a non-moron human. They will simply be too darn dangerous for many people to accept them. But I bet a lot of the technology developed through that research will find its way into automobiles designed to have a human driver, and probably some of that technology already has.

Quote:
Originally Posted by ZodWallop View Post
Yeah, I feel the same way about Project Loon (balloon based wi-fi). Very Popular Mechanics. I'm even questioning self driving cars, though there are enough people taking it seriously I give it a little more credence.

Maybe I'm a pessimist. I'd love to be wrong. But I think mostly these are a form of PR, building excitement for a brand.
Quote:
Originally Posted by fjtorres View Post
Brand building is part of it, yes.
Part of it is also due diligence: figuring out ways competitors (present or future) could outflank you and undercut your business. Then, you patent the methodology involved (even if you don't intend to use it) just in case. Well-run tech companies are always on defense, looking for ways a brash startup could cut into their business so they can "head them off at the pass" or buy them out while they're small and affordable.

As for Project Loon the core idea is good but the planned usage (free flying baloons) is off. A more effective approach is to just anchor the balloons to serve as cheap, quickly-deployed WiMax towers.
  Reply With Quote
Old 12-30-2016, 07:30 PM   #9
davidfor
Grand Sorcerer
davidfor ought to be getting tired of karma fortunes by now.davidfor ought to be getting tired of karma fortunes by now.davidfor ought to be getting tired of karma fortunes by now.davidfor ought to be getting tired of karma fortunes by now.davidfor ought to be getting tired of karma fortunes by now.davidfor ought to be getting tired of karma fortunes by now.davidfor ought to be getting tired of karma fortunes by now.davidfor ought to be getting tired of karma fortunes by now.davidfor ought to be getting tired of karma fortunes by now.davidfor ought to be getting tired of karma fortunes by now.davidfor ought to be getting tired of karma fortunes by now.
 
Posts: 24,905
Karma: 47303824
Join Date: Jul 2011
Location: Sydney, Australia
Device: Kobo:Touch,Glo, AuraH2O, GloHD,AuraONE, ClaraHD, Libra H2O; tolinoepos
Quote:
Originally Posted by jswinden View Post
I really doubt autonomous cars will be around very soon, and frankly hope they are not. Idiots who text and drive or in some other way get distracted are dangerous enough. A car doing what programmers told it to will NEVER react as well as a non-moron human. They will simply be too darn dangerous for many people to accept them. But I bet a lot of the technology developed through that research will find its way into automobiles designed to have a human driver, and probably some of that technology already has.
But, if all cars are automated, then they all follow the same rules. And they will actually follow the rules. As said, the "Idiots who text and drive", or those who speed will no longer be a factor in making driving decisions. That makes automated cars a lot safer than relying on people.

It still leaves the problem of kids/dogs/whatever running in front of a car. But, I bet it's possible to make a detection system that is faster than a human. And communicates with the cars behind it to slow them down at the same time.

It's going to be a while before we get to something like this, and I don't see a lot of people wanting to give up control, including me, but long term, we do have to consider it.
davidfor is offline   Reply With Quote
Old 12-30-2016, 08:24 PM   #10
Cinisajoy
Just a Yellow Smiley.
Cinisajoy ought to be getting tired of karma fortunes by now.Cinisajoy ought to be getting tired of karma fortunes by now.Cinisajoy ought to be getting tired of karma fortunes by now.Cinisajoy ought to be getting tired of karma fortunes by now.Cinisajoy ought to be getting tired of karma fortunes by now.Cinisajoy ought to be getting tired of karma fortunes by now.Cinisajoy ought to be getting tired of karma fortunes by now.Cinisajoy ought to be getting tired of karma fortunes by now.Cinisajoy ought to be getting tired of karma fortunes by now.Cinisajoy ought to be getting tired of karma fortunes by now.Cinisajoy ought to be getting tired of karma fortunes by now.
 
Cinisajoy's Avatar
 
Posts: 19,161
Karma: 83862859
Join Date: Jul 2015
Location: Texas
Device: K4, K5, fire, kobo, galaxy
Quote:
Originally Posted by davidfor View Post
But, if all cars are automated, then they all follow the same rules. And they will actually follow the rules. As said, the "Idiots who text and drive", or those who speed will no longer be a factor in making driving decisions. That makes automated cars a lot safer than relying on people.

It still leaves the problem of kids/dogs/whatever running in front of a car. But, I bet it's possible to make a detection system that is faster than a human. And communicates with the cars behind it to slow them down at the same time.

It's going to be a while before we get to something like this, and I don't see a lot of people wanting to give up control, including me, but long term, we do have to consider it.
According to some ads, some cars already have automatic braking systems.
Cinisajoy is offline   Reply With Quote
Old 12-30-2016, 08:41 PM   #11
John F
Grand Sorcerer
John F ought to be getting tired of karma fortunes by now.John F ought to be getting tired of karma fortunes by now.John F ought to be getting tired of karma fortunes by now.John F ought to be getting tired of karma fortunes by now.John F ought to be getting tired of karma fortunes by now.John F ought to be getting tired of karma fortunes by now.John F ought to be getting tired of karma fortunes by now.John F ought to be getting tired of karma fortunes by now.John F ought to be getting tired of karma fortunes by now.John F ought to be getting tired of karma fortunes by now.John F ought to be getting tired of karma fortunes by now.
 
Posts: 8,032
Karma: 71355703
Join Date: Feb 2009
Device: Kobo Clara 2E
And Tesla was just in the news for anticipating an accident before happened.
John F is offline   Reply With Quote
Old 12-30-2016, 09:11 PM   #12
FizzyWater
You kids get off my lawn!
FizzyWater ought to be getting tired of karma fortunes by now.FizzyWater ought to be getting tired of karma fortunes by now.FizzyWater ought to be getting tired of karma fortunes by now.FizzyWater ought to be getting tired of karma fortunes by now.FizzyWater ought to be getting tired of karma fortunes by now.FizzyWater ought to be getting tired of karma fortunes by now.FizzyWater ought to be getting tired of karma fortunes by now.FizzyWater ought to be getting tired of karma fortunes by now.FizzyWater ought to be getting tired of karma fortunes by now.FizzyWater ought to be getting tired of karma fortunes by now.FizzyWater ought to be getting tired of karma fortunes by now.
 
FizzyWater's Avatar
 
Posts: 4,220
Karma: 73492664
Join Date: Aug 2007
Location: Columbus, Ohio
Device: Oasis 2 and Libra H2O and half a dozen older models I can't let go of
They could add sensors to the Solar Roadways that talk to the cars. As mentioned above, it still doesn't help with the unexpected being or thing suddenly showing up on the road, though.
FizzyWater is offline   Reply With Quote
Old 12-31-2016, 08:54 AM   #13
fjtorres
Grand Sorcerer
fjtorres ought to be getting tired of karma fortunes by now.fjtorres ought to be getting tired of karma fortunes by now.fjtorres ought to be getting tired of karma fortunes by now.fjtorres ought to be getting tired of karma fortunes by now.fjtorres ought to be getting tired of karma fortunes by now.fjtorres ought to be getting tired of karma fortunes by now.fjtorres ought to be getting tired of karma fortunes by now.fjtorres ought to be getting tired of karma fortunes by now.fjtorres ought to be getting tired of karma fortunes by now.fjtorres ought to be getting tired of karma fortunes by now.fjtorres ought to be getting tired of karma fortunes by now.
 
Posts: 11,732
Karma: 128354696
Join Date: May 2009
Location: 26 kly from Sgr A*
Device: T100TA,PW2,PRS-T1,KT,FireHD 8.9,K2, PB360,BeBook One,Axim51v,TC1000
RoboCars aren't limited to visible light like humans; they use radar, ultrasonics, GPS, inertial guidance. And they can have a wider field of "vision". New roads could be wired cheaply, too. Just passive cables down the lane centerline. Plus computers can and do react faster than humans. RoboCars will definitely be safer in bad weather and almost certainly be able to detect the unexpected faster. They will naturally default to the safest response, like pulling over in bad driving conditions, instead of trying to muddle through like humans do.

RoboTrucks for long distance interstate hauling is a certainty. That is coming for sure. Probably this decade. At first they'll have on-board human supervisors because of current laws. Eventually, the human supervisors will be remotely located, much like military drone pilots. And with trucks it will be feasible for each human "operator" to oversee multiple trucks either in convoys or scattered around the country. So the system will be both cheaper and safer.

The tech is too good to pass up.

Last edited by fjtorres; 12-31-2016 at 08:57 AM.
fjtorres is offline   Reply With Quote
Old 12-31-2016, 10:36 AM   #14
jswinden
Nameless Being
 
I think some of you are very delusional and naive about the capability of technology to even come close to matching a human driver. Just look at the newer automated Airbus airplanes that virtually fly themselves. They have been known to fly themselves into the ground on numerous occasions due to the limitation of the technology. Humans, as dopey and distracted as they can be, are able to react instinctively. Machines will never reach that level. We cannot develop something that is smarter than we are. We are not gods. There is more pseudo-science involved in the common understanding of automated cars than science. The wow factor is there, and it wows those who rarely question everything. But there are too many factors that will keep automated cars from succeeding on any large or meaningful scale. I suspect we will see short stretches of roads with them wherein everything is strictly controlled. But that won't be widespread due to cost, limited technology, and the human male wanting to sit behind the seat of his shiny new sports car and go varooooooom! It is just pure Popular Mechanics dreaming.
  Reply With Quote
Old 12-31-2016, 10:57 AM   #15
Cinisajoy
Just a Yellow Smiley.
Cinisajoy ought to be getting tired of karma fortunes by now.Cinisajoy ought to be getting tired of karma fortunes by now.Cinisajoy ought to be getting tired of karma fortunes by now.Cinisajoy ought to be getting tired of karma fortunes by now.Cinisajoy ought to be getting tired of karma fortunes by now.Cinisajoy ought to be getting tired of karma fortunes by now.Cinisajoy ought to be getting tired of karma fortunes by now.Cinisajoy ought to be getting tired of karma fortunes by now.Cinisajoy ought to be getting tired of karma fortunes by now.Cinisajoy ought to be getting tired of karma fortunes by now.Cinisajoy ought to be getting tired of karma fortunes by now.
 
Cinisajoy's Avatar
 
Posts: 19,161
Karma: 83862859
Join Date: Jul 2015
Location: Texas
Device: K4, K5, fire, kobo, galaxy
Quote:
Originally Posted by jswinden View Post
I think some of you are very delusional and naive about the capability of technology to even come close to matching a human driver. Just look at the newer automated Airbus airplanes that virtually fly themselves. They have been known to fly themselves into the ground on numerous occasions due to the limitation of the technology. Humans, as dopey and distracted as they can be, are able to react instinctively. Machines will never reach that level. We cannot develop something that is smarter than we are. We are not gods. There is more pseudo-science involved in the common understanding of automated cars than science. The wow factor is there, and it wows those who rarely question everything. But there are too many factors that will keep automated cars from succeeding on any large or meaningful scale. I suspect we will see short stretches of roads with them wherein everything is strictly controlled. But that won't be widespread due to cost, limited technology, and the human male wanting to sit behind the seat of his shiny new sports car and go varooooooom! It is just pure Popular Mechanics dreaming.
Can I be offended that you think only human maleswant to go varoooooooom! ?
Some human females like the speed too.

There are now cars with automatic parking and some with auto braking if something runs out in front of them.

I think we are closer to Auto everything than you care to believe. If not in our lifetime than more than likely our grandkids.
And as far as AutoCook goes, we are very close there. Heck, some people already do that.
It's called a freezer and a microwave. They don't actually cook anything. You can even buy frozen peanut butter and jelly sandwiches.
Very little work on the human end.
Cinisajoy is offline   Reply With Quote
Reply


Forum Jump

Similar Threads
Thread Thread Starter Forum Replies Last Post
Exclusive: meet the Amazon Kindle with 'Paperwhite' backlit display xg4bx News 443 09-23-2012 10:31 AM
Seriously thoughtful Civilians in UK to be monitored by drones kaas Lounge 33 01-26-2010 11:37 AM
PVI cannot meet Amazon Kindle demand Alexander Turcic News 0 01-29-2008 12:04 PM


All times are GMT -4. The time now is 03:21 AM.


MobileRead.com is a privately owned, operated and funded community.