View Single Post
Old 09-30-2019, 08:47 PM   #17
DomesticExtremis
Addict
DomesticExtremis ought to be getting tired of karma fortunes by now.DomesticExtremis ought to be getting tired of karma fortunes by now.DomesticExtremis ought to be getting tired of karma fortunes by now.DomesticExtremis ought to be getting tired of karma fortunes by now.DomesticExtremis ought to be getting tired of karma fortunes by now.DomesticExtremis ought to be getting tired of karma fortunes by now.DomesticExtremis ought to be getting tired of karma fortunes by now.DomesticExtremis ought to be getting tired of karma fortunes by now.DomesticExtremis ought to be getting tired of karma fortunes by now.DomesticExtremis ought to be getting tired of karma fortunes by now.DomesticExtremis ought to be getting tired of karma fortunes by now.
 
DomesticExtremis's Avatar
 
Posts: 244
Karma: 359054
Join Date: Nov 2012
Device: default
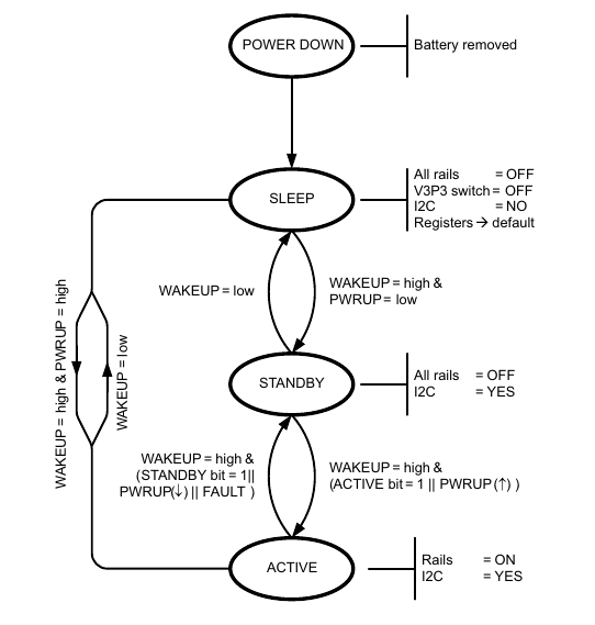
Measuring voltages

Well, this is going to be tricky. The chip has four power modes correspnding to the Kobo modes as follows:
Code:
POWER DOWN   Battery disconnected
SLEEP                 Power down
STANDBY            Sleep
ACTIVE                Powered on
The state diagram is attached, as can be seen, the power rails are only on in the active state, so I can only take measurements during the brief period between powering up and the chip shutting itself down
Attached Thumbnails
Click image for larger version

Name:	tps65185_pwrmodes.png
Views:	1352
Size:	49.7 KB
ID:	173848  
DomesticExtremis is offline   Reply With Quote